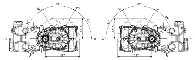
Getriebepositionen
Bei Pumpen, die mit einem Getriebe ausgestattet sind, kann das Getriebe in verschiedenen Positionen montiert werden. In dem Beispiel unten sehen Sie die Positionen 1, 2, 3 und 4. Das "D" steht dabei für destra (rechts) und das "S" steht für sinistra (links).
Getriebepositionen bei den Serien KE, KT, KF, HF, VFH, KS, HS, VKH
Getriebepositionen bei den Serien MW, SM, MK, MF, MKS
 |
Welchen Positionen möglich sind, entnehmen Sie dem Datenblatt der entsprechenden Pumpe |
|